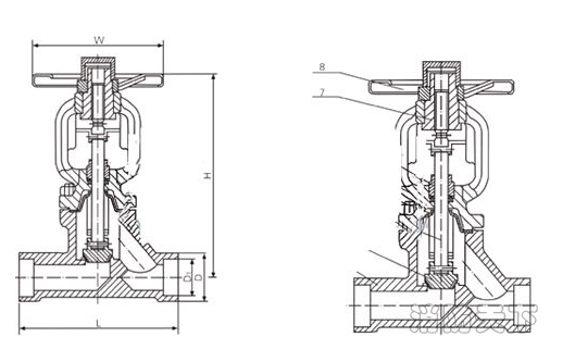
承插焊接波紋管截止閥產品性能參數:
|
型號 |
WJ41H-16C |
WJ41H-25C |
WJ41W-16P |
WJ41W-25P |
|
|
工作壓力(MPa) |
1.6 |
2.5 |
1.6 |
2.5 |
|
|
適用溫度(℃) |
≤425 |
≤150(保溫夾套) |
|||
|
適用介質 |
無腐蝕性介質 |
腐蝕性介質 |
|||
|
材料 |
閥體、閥蓋、閘板 |
碳素鋼 |
鉻鎳鈦不銹鋼 |
||
|
閥桿 |
鉻不銹鋼 |
鉻鎳鈦不銹鋼 |
|||
|
密封面 |
鉻不銹鋼或碳鋼堆焊硬質合金 |
鉻鎳鈦不銹鋼 |
|||
|
填料 |
柔性石墨或夾不銹鋼絲柔性石墨 |
柔性石墨或夾不銹鋼絲柔性石墨 |
|||
|
波紋管 |
奧氏體不銹鋼 |
奧氏體不銹鋼 |
|||
WJ61H-64C承插焊接波紋管截止閥【產品的適用范圍】
焊接波紋管截止閥適用范圍、采用標準、材質、特點.
適用范圍適用介質蒸氣、天然氣、有毒廢氣凈化、真空裝置、熱油系統、加熱設備、冷凍系統、
氨、熱水、電站等,適用溫度-20~350℃.
WJ61H-64C承插焊接波紋管截止閥【產品技術參數】
適用溫度:≤350℃(碳鋼) ≤150℃(不銹鋼)
適用介質:水、蒸汽、油品(碳鋼) 硝酸等(不銹鋼)
閥體材質:WCB堆焊不銹鋼(碳鋼) ZG1Cr18Ni9Ti(不銹鋼)
閥蓋材質:WCB(碳鋼) ZG1Cr18Ni9Ti(不銹鋼)
閥桿材質:2Cr13(碳鋼) 1Cr18Ni9Ti(不銹鋼)
閥瓣材質:1Cr18Ni9Ti堆焊硬質合金
填料:柔性石墨(碳鋼) 柔性石墨或聚四氟乙烯(不銹鋼)




