襯膠隔膜閥,襯膠隔膜閥供應,襯膠隔膜閥圖片
【直流式襯膠隔膜閥】概述:專用于控制非腐蝕性或一般腐蝕性介質,閥體內腔表面無襯里或覆有可供選擇的各種橡膠,適用于不同工作溫度和流體管路。
適用溫度:≤85℃、≤100℃、 ≤120℃(按照襯里和隔膜材料)
壓力等級:PN0.6、1.0、1.6
1.【直流式襯膠隔膜閥】材料:
閥體:鑄鐵、球墨鑄鐵、碳鋼、不銹鋼
閥蓋:鑄鐵、球墨鑄鐵、碳鋼、不銹鋼
襯里:無襯里、橡膠
隔膜:橡膠
閥瓣:鑄鐵、碳鋼
閥桿:碳鋼、不銹鋼手輪:鑄鐵
2.【直流式襯膠隔膜閥】測試:
襯里層:電火花檢測
試驗與檢驗按GB/T13297標準
公稱壓力:PN(Mpa)
閥體:PN×1.5
密封:PN×1.1
3.【直流式襯膠隔膜閥】結構特點:
隔膜閥是一種特殊形式的截止閥;
1、彈性密封的開閉件,確保沒有內漏;
2、流線型的流道,使得壓力損失小;
3、沒有填料函,因此沒有外漏;
4、閥體與蓋被中間隔膜隔開,使得隔膜上方的閥蓋,閥桿零件不受介質侵蝕;
5、隔膜可更換,維護費用低;
6、襯里材料的多樣性,可適用于各種介質,并具有良好的耐腐蝕性。
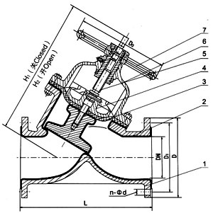
4.【直流式襯膠隔膜閥】主要尺寸及重量:
|
DN |
公稱壓力 |
工作壓力 |
L |
D |
D1 |
n-φd |
F |
H1 |
H2 |
D0 |
質量 |
|
25 |
0.6 |
0.6 |
145 |
115 |
85 |
4-14 |
2 |
178 |
190 |
120 |
- |
|
32 |
160 |
140 |
100 |
4-18 |
2 |
196 |
217 |
140 |
- | ||
|
40 |
180 |
150 |
110 |
4-18 |
3 |
196 |
217 |
140 |
14 |
||
|
50 |
210 |
165 |
125 |
4-18 |
3 |
219 |
240 |
200 |
20 |
||
|
65 |
250 |
185 |
145 |
4-18 |
3 |
264 |
272 |
200 |
29 |
||
|
80 |
300 |
200 |
160 |
4-18 |
3 |
285 |
315 |
280 |
42 |
||
|
100 |
350 |
220 |
180 |
8-18 |
3 |
352 |
383 |
320 |
61 |
||
|
125 |
400 |
250 |
210 |
8-18 |
3 |
470 |
515 |
320 |
79.5 |
||
|
150 |
0.4 |
460 |
285 |
240 |
8-22 |
3 |
508 |
554 |
400 |
150 |
|
|
200 |
570 |
340 |
295 |
8-22 |
4 |
602 |
660 |
500 |
236.5 |
||
|
250 |
680 |
395 |
350 |
12-22 |
4 |
708 |
786 |
500 |
- | ||
|
300 |
790 |
445 |
400 |
12-22 |
4 |


產品特點:設計與制造:GB122239 結構長度:GB12221、JB1688 法蘭連接尺寸:GB4216、JB78 G45J直流式襯膠隔膜閥,直流式隔膜閥,襯膠隔膜閥.部件列表: 1、閥體 2、閥體襯里 3、隔膜 4、閥瓣 5、閥桿 6、閥蓋 7、手輪
襯膠隔膜閥,襯膠隔膜閥供應,襯膠隔膜閥圖片


