產品介紹:
A28H型帶手柄彈簧全啟式安全閥適用于工作溫度≤200℃的空氣、蒸汽、水、氮氫混合氣等介質的設備或管路上,A28Y-P/10R8型帶手柄彈簧全啟式安全閥適用于工作溫度≤200℃有腐蝕性介質的設備或管路上,作為超壓保護裝置。
應用范圍:
A28H帶手柄彈簧全啟式安全閥適用于工作溫度≤200℃的空氣、蒸汽、水、氮氫混合氣等介質的設備或管路上,A28Y-P型安全閥、A28Y-10R8型帶手柄彈簧全啟式安全閥適用于工作溫度≤200℃有腐蝕性介質的設備或管路上
標準規范:
設計制造標準:GB/T 12243-2005
結構長度標準:GB/T 12221-2005
連接法蘭標準:GB/T 9113
壓力溫度等級:GB/T 12224-2005
試驗檢驗標準:GB/T 13927-2008
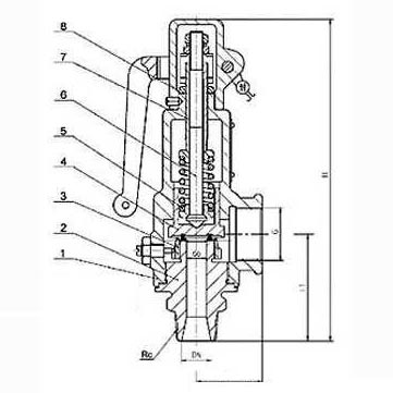
零件材料與工況:

| NO. | 零件名稱 | A28H材料 | A28Y-P材料 | A28Y-R8材料 |
| 1 | 閥體 | HT200 | ZG1Cr18Ni9Ti | CF8M |
| 2 | 閥座 | 35 | ZG1Cr18Ni9Ti | CF8M |
| 3 | 調節圈 | 2Cr13 | 1Cr18Ni9Ti | 316 |
| 4 | 閥瓣 | 2Cr13 | 1Cr18Ni9Ti | 316 |
| 5 | 彈簧 | 50CrVA | 50CrVA包覆氟塑料 | 50CrVA包覆氟塑料 |
| 6 | 閥桿 | 2Cr13 | 2Cr13 | 316 |
| 7 | 調整螺桿 | 45 | 2Cr13 | 316 |
| 8 | 保護罩 | ZG200-400 | ZG200-400 | CF8M |
| 9 | 密封面材料 | 堆焊D507 | 堆焊Co基硬質合金 | |


