產品簡介
電動四通球閥 產品概述
Q946F電動四通球閥是采用角行程電動執行器及四通球閥組成,在石油、天然氣、煤炭和礦石的開采、提煉加工和管道輸送系統中;在化工產品、醫藥和食品生產中;在水電、火電和核電的電力生產系統中;在城市和工業企業的給排水、供熱、和供氣系統中;在農田的排灌系統中;在治金生產系統中;電動四通球閥得以廣泛的應用,是一種與生產建設、國防建設和人民生活息息相關的重要機械產品。電動四通球閥密閉在各類管路系統種用于截斷或接通介質流,使介質按照預定的程序輸送到各個指定點。
電動四通球閥 產品特點
1、流體阻力小:球體和閥體的連接管道截面相等,且球體通道采用圓弧連接,介質通過球體時,流體阻力小。
2、密封性能: 閥座采用具有一定彈性變形和高強度的PTFE材料,達到良好密封性能保證了閥門的穩定性。
3、使用壽命長:閥門的閥芯和光頸材料采用奧氏不銹鋼,閥座材料選用PTFE,能達到良好的抗腐蝕性作用,延長了閥門使用壽命。
電動四通球閥 主要技術參數
閥體及內件
| 閥體形式 | 四通鑄造閥體 |
| 公稱通徑 | DN50~600mm |
| 公稱壓力 | PN1.6、2.5、4.0 MPa;ANSI 150、300LB ;JIS 10、20、30K |
| 法蘭標準 | JB/T79.2-1994、 ASME/ANSI B165 |
| 連接形式 | 法蘭式 |
| 壓蓋型式 | 壓蓋壓緊式 |
| 密封填料 | V型聚四氟乙烯填料、柔性石墨填料等 |
| 設計和制造 | GB/T12237-1989; APl608 |
| 檢驗和試驗 | GB/T13927-1992; APl 598 |
執行機構
| 執行器型號 | DSR、3810R、DZW、HQ、PSQ |
| 主要技術參數 | 電源電壓:220V/50Hz、380V/50Hz、輸入信號:4-20mA或1-5V-DC、輸出信號:4-20mA·DC |
| 防護等級:相當IP65(或IP67)、隔爆標志:ExdⅡBT4、手操功能:手柄 | |
| 環境溫度:-25~+70℃、環境濕度:≤95% |
電動四通球閥 流向原理圖
如圖:“LL'’型四通球閥只需操作板手或執行器將球體轉動90°,同時對兩種介質的流向進行切換,即方便而迅速,實現一閥多用的效果。
![]() |
![]() |
|
“LL”型介質切換圖
|
|
電動四通球閥 主要零件材料
| 閥體/閥蓋 | GB | WCB | ZGlCrl8Ni9Ti | ZGOCfl8Nil2M02Ti | |||
| ASTM | WCB | CF8 | CF8M | ||||
| 球體 | GB | 2Crl3 | 1Cfl8Ni9Ti | 0Cfl8Ni12M02Ti | |||
| ASTM | 420 | 304 | 316 | ||||
| 閥桿 | GB | 2Crl3 | 1Crl8Ni9Ti | 0Crl8Ni12M02Ti | |||
| ASTM | 420 | 304 | 316 | ||||
| 閥座 | GB | 聚四氟乙烯 | 對位聚苯 | 聚四氟乙烯 | 對位聚苯 | 聚四氟乙烯 | 對位聚苯 |
| ASTM | 聚四氟乙烯 | 對位聚苯 | 聚四氟乙烯 | 對位聚苯 | 聚四氟乙烯 | 對位聚苯 | |
| 填料 | GB | 聚四氟乙烯 | 柔性石墨 | 聚四氟乙烯 | 柔性石墨 | 聚四氟乙烯 | 柔性石墨 |
| ASTM | 聚四氟乙烯 | 柔性石墨 | 聚四氟乙烯 | 柔性石墨 | 聚四氟乙烯 | 柔性石墨 | |
| 螺栓 | GB | 35 | 0Crl8Ni9 | 0Crl8Ni9 | |||
| ASTM | A193B7 | A320-B8 | A320-B8 | ||||
| 螺母 | GB | 45 | 0Cfl8Ni9 | 0Crl8Ni9 | |||
| ASTM | A1942H | A194-8 | A194-8 | ||||
電動四通球閥 主要性能規范
| 公稱壓力(MPa) | 常溫最大工作壓力(MPa) | 殼體試驗壓力(MPa) | 氣密封試驗壓力(MPa) | 高壓密封試驗壓力(MPa) |
| PN1.6 | 1.6 | 2.4 | 0.6 | 1.76 |
| PN2.5 | 2.5 | 3.8 | 0.6 | 2.75 |
| PN4.0 | 4.0 | 6.0 | 0.6 | 4.4 |
| l50LB | 2.0 | 3.0 | 0.6 | 2.2 |
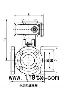
電動四通球閥 主要外形及連接尺寸
![]() |
![]() |
![]() |
| 公稱壓力PN | 公稱通徑DN | 尺 寸(mm) | ||||||||
| L | L0 | D | D1 | D2 | b | z-φd | H1 | A | ||
| 1.6MPa | 50 | 260 | 130 | 165 | 125 | 100 | 16 | 4-ф18 | 205 | 根據配置 執行機構 大小而定 |
| 65 | 320 | 160 | 185 | 145 | 120 | 18 | 4-ф18 | 245 | ||
| 80 | 320 | 160 | 200 | 160 | 135 | 20 | 8-ф18 | 305 | ||
| 100 | 370 | 185 | 220 | 180 | 155 | 20 | 8-ф18 | 340 | ||
| 125 | 510 | 255 | 250 | 210 | 185 | 22 | 8-ф18 | 425 | ||
| 150 | 510 | 255 | 285 | 240 | 2'0 | 24 | 8-ф23 | 450 | ||
| 200 | 580 | 290 | 340 | 295 | 265 | 26 | 12-ф23 | 480 | ||
| 250 | 670 | 335 | 405 | 355 | 320 | 30 | 12-ф25 | 530 | ||
| 300 | 760 | 380 | 460 | 410 | 375 | 30 | 12-ф25 | 585 | ||
| 350 | 850 | 425 | 520 | 470 | 435 | 34 | 16-ф25 | 625 | ||
| 400 | 980 | 490 | 580 | 525 | 485 | 36 | 16-ф30 | 670 | ||
| 450 | 1080 | 540 | 640 | 585 | 545 | 40 | 20-ф30 | 705 | ||
| 500 | 1220 | 610 | 715 | 650 | 608 | 44 | 20-ф34 | 765 | ||
| 600 | 1360 | 680 | 840 | 770 | 718 | 48 | 20-ф41 | 840 | ||
注:以上參數為不帶標準附件數據,另由于產品改進技術創新參數可能有一定變化,請咨詢公司技術部門索取最新數據。
![]() |
![]() |
![]() |
![]() |
| Q644/645F氣動三通球閥 |
Q646F氣動四通球閥 | Q944/Q945F電動法蘭三通球閥 |
Q914/915F電動內螺紋三通球閥 |










